- Hem »
- Reservdelar
- » Powertrim/rigg
- » Mercury
- » Bult Mercury
Beskrivning
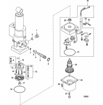
Bult, låsarm tilt Mercury 9,9 - 50 hk, 2-takt samt F 10 - F 30 hk, 4-takt vissa Tohatsumodeller
Se sprängskiss för rätt del, nr 17 i bild
Ers art 804049
Samma som Tohatsu art 3AL-05254-0
Specifikationer
Omdöme
Lämna ett omdöme
Omdöme (0)
Dela
Blogga om
Dokument
Andra produkter från samma kategori
-
Bricka nedre motorupphängning Mercury F 80 - F 115 hk, 4-takt 2,1 liter Nr 2...Art nr. 8M007581733,16 SEK
-
Motorbussning Mercury 6 - 9,8 hk, 2-takt 169 cc Tohatsumodeller Nr 29 i bild...Art nr. 803775459,64 SEK
-
Gummibussning i rigg, Mercury 4 - 5 hk, 2-takt 102 cc samt F 2 - F 3,5 hk, 4-...Art nr. 8M0057473143,58 SEK
-
Ventilsats eltiltmotor Mercury F 8 - F 9,9 hk, 209 cc samt F 10 - F 20 hk, 35...Art nr. 896301A01393,04 SEK