- Hem »
- Reservdelar
- » Powertrim/rigg
- » Mercury
- » Låsbricka Mercury
Beskrivning
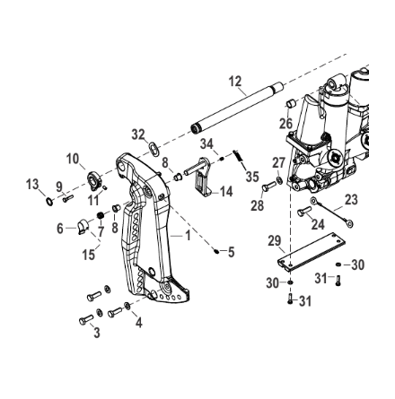
Bricka motorbussning Mercury F 25 SeaPro, 492 cc samt F 25 - F 30 hk, 526 cc, 4-takt
Nr 27 i bild
Se sprängskiss för rätt del och antal
Samma som Tohatsu art 3R0-61312-1
Specifikationer
Omdöme
Lämna ett omdöme
Omdöme (0)
Dela
Blogga om
Dokument
Andra produkter från samma kategori
-
Bussning trimkolv Mercury F 25 EFI - F 30 EFI, 4-takt 500 cc och 596 cc power...Art nr. 1617601025,78 SEK
-
Nippel rigg Mercury F 25 - F 30 hk, 500 cc 4-takt Nr 26 i bild.Art nr. 8M0186818157,58 SEK
-
O-ring styrrör Mercury V 6 och V 8, 4-takt Se sprängskiss för rätt del Nr ...Art nr. 8M01428103,75 SEK
-
Koppling elmotor Mercury 40 - 50 hk, 2-takt 697 cc Tohatsumodell Nr 1 i bild...Art nr. 851877002142,11 SEK