- Hem »
- Reservdelar
- » Växelhusdelar
- » Tohatsu
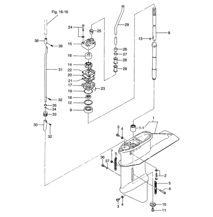
- » Mutter Tohatsu
Beskrivning
Mutter Tohatsu, flera modeller - se sprängskiss för rätt del
Samma som Mercury art 85372210
Specifikationer
Omdöme
Lämna ett omdöme
Omdöme (0)
Dela
Blogga om
Dokument
Andra produkter från samma kategori
-
Inre lager samt stora lagret i trådrulle, växelhus Tohatsu MFS 9,9 C,D, E - M...Art nr. 3BJ-60215-0490,81 SEK
-
Packbox i lagerhus propelleraxel Tohatsu MFS 25 B + C + D EFI - MFS 30 B + ...Art nr. 3AC-60111-0105,18 SEK
-
Bricka för Tohatsu anodbult art 911103-1045 Nr 12 i bild, M 10 Nytt nr 940...Art nr. 940103-100010,44 SEK
-
Shims drivaxel Tohatsu M 40 C, 2-cyl. 2-takt samt MFS 40 A - MFS 60 A, 4-takt...Art nr. 345-64084-070,11 SEK