- Hem »
- Reservdelar
- » Powertrim/rigg
- » Mercury
- » Packning Mercury
Beskrivning
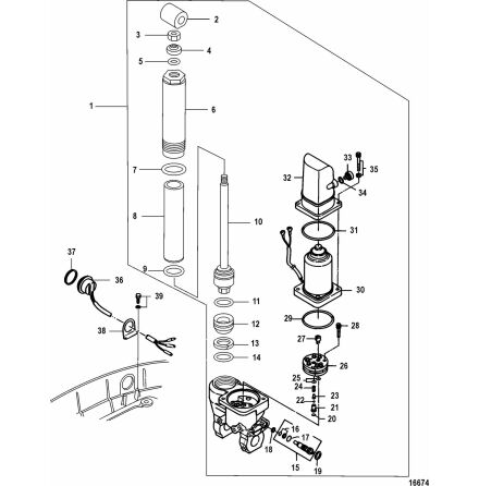
Packning, yttre, för tomgångs avgasbehållare Mercury F 25 - F 30 hk, 526 cc, 4-takt Tohatsumodeller.
Nr 20 i bild.
Ersätter art 898101106
Samma som Tohatsu art 3AC-61220-1 (Tohatsu MFS 25 B+C - MFS 30 B+C)
Specifikationer
Omdöme
Lämna ett omdöme
Omdöme (0)
Dela
Blogga om
Dokument
Andra produkter från samma kategori
-
Bult riggbyglar Mercury 2,5 - 9,8 hk, 2-takt och F 2,5- F 6 hk, 4-takt flera ...Art nr. 898101337143,14 SEK
-
Styrfäste Mercury F 2,5 - F 3,5 hk, 4-takt 85,5 cc, Tohatsumodeller Nr 2 i b...Art nr. 898103T65609,66 SEK
-
Säte för fjäder trimkolv Mercury F 25 EFI - F 30 EFI, 4-takt 500 cc och 526 c...Art nr. 89810118052,86 SEK
-
Länk rigg Mercury 9,9 - 18 hk, 247 cc 2-takt samt F 15 SeaPro 328 cc 4-takt ...Art nr. 8M018007486,74 SEK