- Hem »
- Reservdelar
- » Bränsle förgasare/pumpar
- » Suzuki
- » Tätning insprutare Suzuki
Beskrivning
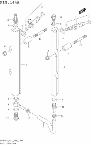
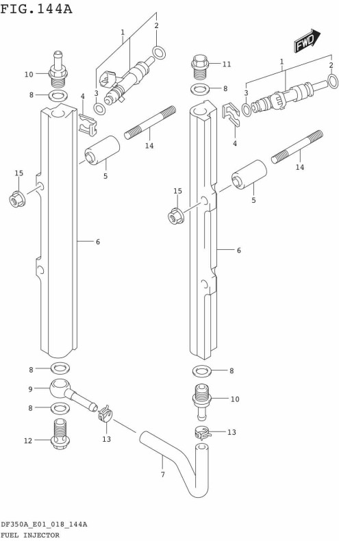
Inre o-ring insprutare Suzuki DF 25 A - DF 30 A samt DF 300 B - DF 350 A, 4-takt
Nr 2 i bild
Se sprängskiss för rätt del och antal.
Specifikationer
Omdöme
Lämna ett omdöme
Omdöme (0)
Dela
Blogga om
Dokument
Andra produkter från samma kategori
-
O-ring justerskruv gashus Suzuki DF 9,9 B - DF 20 A EFI, 4-takt Se sprängski...Art nr. 13295-2990137,50 SEK
-
Packning till dräneringsskruv Suzuki art 13279-99J00 Nr 17 i bild.Art nr. 13275-99J0085,00 SEK
-
Gummi, tätning-dämpare tank mot kåpa, Suzuki DF 2,5 hk, 4-takt Nr 7 i bild 2...Art nr. 65284-97J1140,00 SEK
-
Förgasarpackning Suzuki DF 9,9 - DF 15 hk 302 cc, förgasarmodeller vissa mode...Art nr. 13125-94J0117,50 SEK