-
Vevstaksbult Mercury F 4 - F 30 hk, 4-takt Tohatsumodeller Nr 7 i bild 1 Ers art 803509011 Samma som Tohatsu art 3H6-00059-0Art nr. 8035092151,98 SEK
-
Kamvippa/rocker arm Mercury F 10 - F 20, 4-takt 351 cc samt F 25 - F 30, 4-takt 526 cc Tohatsumodeller Nr 9 i bild. Ersätter Mercury art 898101153 Se sprängskis...Art nr. 8M0123419173,33 SEK
-
Insprutare Mercury F 25 EFI - F 30 EFI, 4-takt Tohatsumodell 526 cc, inkl tätningar Ersätter Mercury art 898101T74 Samma som Tohatsu art 3AC-10300-1Art nr. 8M0091784986,80 SEK
-
Kolv, standarddimension, Tohatsu MFS 8 - MFS 9,8 hk, 4-takt 209 cc Enbart kolv, nr 7 i bild. För kolvsats med ringar, tapp och låsclips beställ art 3FK-87130-0,...Art nr. 3V1-00001-1712,11 SEK
-
Kolvsats standard Tohatsu MFS 8 - MFS 9,8 hk, 4-takt 209 cc Nr 6 i bild, kolv, kolvtapp, låsclips ingår Samma som Mercury art 834963A02 (som dock innehåller rin...Art nr. 3FK-87130-0911,50 SEK
-
Kolvringsats standard Tohatsu MFS 2,5 - MFS 3,5 hk samt MFS 8 - MFS 9,8 hk, 4-takt 209 cc Nr 10 i bild. En sats per kolv åtgår Samma som Mercury art 803678T05Art nr. 3FK-87123-0595,99 SEK
-
Kolvtapp Tohatsu M 9,9 B+C - M 15 B+C, 2-takt 247 cc samt MFS 2,5 - MFS 3,5 hk och MFS 8 - MFS 9,8 hk, 4-takt Nr 8 i bild 2 Samma som Mercury art 825713002, tid...Art nr. 332-00021-1175,29 SEK
-
Kamvippa/rocker arm Mercury F 8 - F 9,9 hk, 4-takt 209 cc Tohatsumodell Nr 13 i bild 2 Ersätter Mercury art 850841002 Samma som Tohatsu art 3Y2-07935-0, tid 3V...Art nr. 8M0081793172,30 SEK
-
Knaster, ventillåsning, Tohatsu MFS 2,5 - MFS 140 hk, 4-takt - förutom MFS 9,9 - MFS 20 hk 351 cc Se sprängskiss för rätt del. 2 åtgår per ventil. Ersätter art...Art nr. 3KY-07923-073,63 SEK
-
Tätning insugsventil, svart modell, Tohatsu MFS 2,5 - MFS 140, 4-takt Samma som Mercury art 822647001Art nr. 3R3-07204-077,13 SEK
-
Tätning avgasventil, grön modell, Tohatsu MFS 2,5 - MFS 140, 4-takt Samma som Mercury art 822647002Art nr. 3R3-07206-077,13 SEK
-
Oljesticka Mercury F 10 EFI - F 20 EFI, 4-takt 333 cc Tohatsumodeller Nr 1 i bild. O-ring/tätning art 804840007 (nr 3 i bild) beställs separat Samma oljesticka...Art nr. 8M0135590158,01 SEK
-
O-ring/tätning oljesticka Tohatsu art 3RS-07721-0 samt tätning insprutningsrail Tohatsu MFS 9,9 E EFI - MFS 20 E EFI, 4-takt 333 cc och MFS 25 B + C + D - MFS 30 ...Art nr. 3T5-10162-045,58 SEK
-
Kolvringsats Mercury F 10 EFI - F 20 EFI, 4-takt 333 cc Tohatsumodell Nr 11 i bild, en sats per kolv åtgår Samma som Tohatsu art 3RS-87123-1Art nr. 8M0134429299,24 SEK
-
Kolvtapp Mercury F 10 EFI - F 20 EFI, 4-takt 333 cc Tohatsumodell Nr 9 i bild Samma som Tohatsu art 3RS-00021-0Art nr. 8M013558159,68 SEK
-
Dräneringsskruv vapor Mercury F 8 EFI - F 9,9 EFI, 209 cc, F 10 EFI - F 20 EFI, 333 cc samt F 25 - F 30 hk, 500 cc, 4-takt Tohatsumodell Nr 19 i bild Samma som ...Art nr. 8M0135596471,83 SEK
-
Svänghjulsmutter Mercury 10 -18 hk, 247 cc samt 25 - 30 hk, 430 cc, 2-takt och F 10 - F 20 hk, 4-takt 328 cc, 351 cc samt 333 cc Tohatsumodeller Nr 2 i bild 2, s...Art nr. 85183200144,04 SEK
-
Gummibussningar/motorkuddar nedre Mercury F 8 - F 9,9 hk, 4-takt 209 cc, Tohatsumodell Nr 22 i bild 2, 2 åtgår per motor Samma som Tohatsu art 3V1-61302-0Art nr. 80377500682,61 SEK
-
Gummibussning, nedre mitt, Mercury F 10 EFI - F 20 EFI, 4-takt 333 cc Tohatsumodell Nr 21 i bild Ersätter Mercury art 8M0135909 Samma som Tohatsu art 3RS-61336-1Art nr. 8M0172869430,15 SEK
-
Gummibussning, övre, Mercury F 10 EFI - F 20 EFI, lång rigg, 4-takt 333 cc Tohatsumodell Nr 11 i bild, 2 åtgår per motor Ers art 8M0153655 Samma som Tohatsu ar...Art nr. 8M0172870288,19 SEK
-
Gummibussning, övre, Mercury F 10 EFI - F 20 EFI, kort rigg, 4-takt 333 cc Tohatsumodell Nr 11 i bild, 2 åtgår per motor Ers art 8M0137361 Samma som Tohatsu ar...Art nr. 8M0172871307,19 SEK
-
Gummibussning, nedre sidor, Mercury F 10 EFI - F 20 EFI, 4-takt 333 cc Tohatsumodell Nr 22 i bild, 2 åtgår per motor Samma som Tohatsu art 3RS-61302-0Art nr. 8M013584247,71 SEK
-
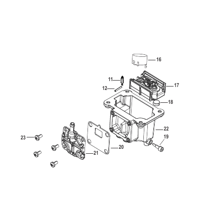
Elmotor powertilt Tohatsu MFS 9,9 E EFI - MFS 20 E EFI, 4-takt 333 cc Nr 17 i bild Ers art 3RS-77180-0 Samma som Mercury art 8M0134508Art nr. 3RS-77180-15 683,86 SEK
-
Varvräknare Tohatsu, svart med en lampa, MFS6/8/9.8B, MFS9.9/15/20E, MFS25/30C+D 4-takt och M 40 D - M 50 D, 2-takt Vit heter 3PB-72638-2 (beställningsvara) Ers...Art nr. 3PA-72638-24 137,25 SEK