-
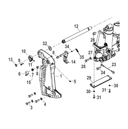
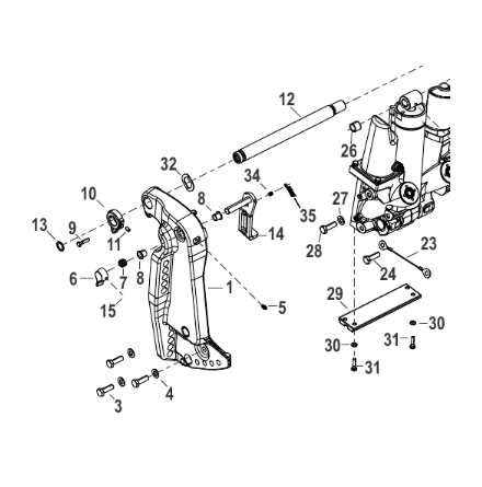
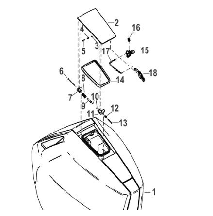
Bult Mercury flera modeller 4-takt och Avator elmotor Se sprängskiss för rätt del och antal, säljes styckvis Nr 11 i bild, som visar V 6, 4-takt M 6 x 20Art nr. 8M008065113,86 SEK
-
Mutter styrrör vissa Mercurymotorer Se sprängskiss för rätt del, denna är svart Nr 10 i bild, som visar V 6, 4-takt Finns även i "silver"utförande, art 8M0146190Art nr. 8M0146189577,11 SEK
-
O-ring styrrör Mercury V 6 och V 8, 4-takt Se sprängskiss för rätt del Nr 13 i bild, som visar V 6, 4-taktArt nr. 8M01428103,75 SEK
-
Bult trimbehållere Mercury flera modeller Se sprängskiss för rätt del och antal, säljes styckvis Nr 16 i bild, som visar V 6, 4-takt Ers art 4000168Art nr. 400032726,84 SEK
-
Bricka Mercury flera modeller Nr 17 i bild, som visar V 6, 4-takt trim Se sprängskiss för rätt del och antal, säljes styckvis Ers art 43450Art nr. 40023158,09 SEK
-
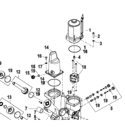
O-ring Mercury V 6 - V 12, 4-takt Sitter på olika ställen Se sprängskiss för rätt del och antal Nr 15 i bild som visar oljerör V 6, 4-taktArt nr. 8M014248127,90 SEK
-
Pin lås lock Mercury V 10, 4-takt Se sprängskiss för rätt del Nr 6 i bildArt nr. 8M020019255,76 SEK
-
Fjäder lås lock Mercury V 10, 4-takt Se sprängskiss för rätt del Nr 8 i bildArt nr. 8M020019463,13 SEK
-
Clip lås lock Mercury V 10, 4-takt Se sprängskiss för rätt del Nr 10 i bildArt nr. 8M02001979,73 SEK
-
Nät, screen, insug Mercury V 10, 4-takt Se sprängskiss för rätt del Nr 16 i bildArt nr. 8M019998336,98 SEK
-
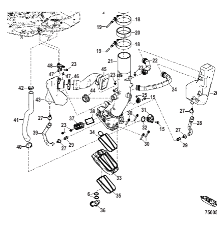
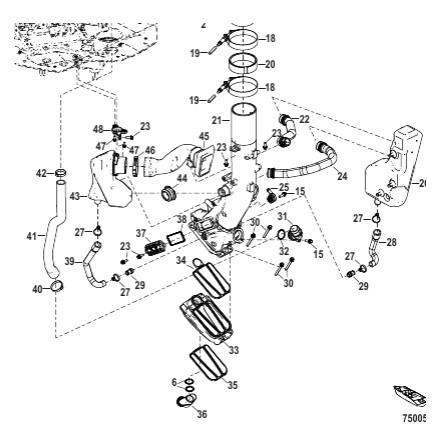
Packning insug, plenum, Mercury V 10, 4-takt Se sprängskiss för rätt del Nr 27 i bild, 2 st åtgår per motor - säljes styckvisArt nr. 8M0199989403,04 SEK
-
Skruv kylvattenintag, sil, Mercury V 10, 4-takt Nr 12 i bild Se sprängskiss för rätt del och antal, säljes styckvisArt nr. 8M020011035,54 SEK
-
Bränslekoppling Mercury V 10, 4-takt Nr 22 i bild Se sprängskiss för rätt delArt nr. 8M019217572,66 SEK
-
Plugg/hylsa bränslekoppling Mercury V 10, 4-takt Nr 23 i bild Se sprängskiss för rätt delArt nr. 8M019997475,55 SEK
-
Bränslefilter, i slang, Mercury V 8 Racing vissa modeller, V 10 och V 12, 4-takt Nr 24 i bild Se sprängskiss för rätt delArt nr. 8M0179353315,00 SEK
-
Gummidämpare Mercury V 6, V 8 och V 10, 4-takt Nr 33 i bild Se sprängskiss för rätt del och antal, säljes styckvisArt nr. 8M01427243,46 SEK
-
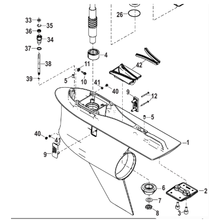
Bränsleanslutning Mercury båtmonterat filter, flera modeller Nr 5 i bild 1 Se sprängskiss för rätt del och antal, säljes styckvis Ers art 817225, F700589, FI59...Art nr. 47841178,13 SEK
-
Plugg Mercury båtmonterat filter, flera modeller Nr 6 i bild 1 Se sprängskiss för rätt del och antal, säljes styckvis Ers art 36373, 34487Art nr. 8M020465760,79 SEK
-
Gummi avgassida Mercury V 10, 4-takt Nr 44 i bild Se sprängskiss för rätt del.Art nr. 8M020006014,88 SEK
-
Nippel avgassida Mercury V 10, 4-takt Nr 29 i bild Se sprängskiss för rätt del och antal, säljes styckvis.Art nr. 8M020005557,35 SEK
-
Gummidistans mercury flera modeller 2-takt och 4-takt Se sprängskiss för rätt del och antal, säljes styckvisArt nr. 83315543,63 SEK
-
Bult Mercury - sitter i flera modeller 2-takt och 4-takt Se sprängskiss för rätt del och antal, säljes styckvis Samma som Tohatsu art 9101E3-5640Art nr. 8M010227914,93 SEK
-
Pinjongdrev Mercury 9,9 - 18 hk, 247 cc, 2-takt Se sprängskiss för rätt del Nr 35 i bild 2 Ers art 803740 Samma som Tohatsu art 350-64020-1Art nr. 8M0183193769,45 SEK
-
Framdrev Mercury 9,9 - 18 hk, 247 cc, 2-takt Se sprängskiss för rätt del Nr 38 i bild 2 Ers art 803739 och 8M0183170 Samma som Tohatsu art 350-64010-2Art nr. 8M0183172748,24 SEK